Задвижка чугунная 30ч906бр (PN 10, DN 100-500)
Технические характеристики:
Чугунная под электропривод 30ч906бр применяется в качестве запорного устройства с дистанционным управлением
Задвижка чугунная 30ч906бр (PN 10, DN 100 - 500)
Чугунная под электропривод 30ч906бр применяется в качестве запорного устройства с дистанционным управлением. Приводным механизмом является задвижки является электропривод. Задвижки устанавливаются на горизонтальном трубопроводе электроприводом вверх. Может быть допущена установка задвижек с горизонтальным расположением шпинделя при условии смазывания червячной пары и роликопо-дшипниковов густой смазкой и при наличии опоры под электропривод. В задвижках 30ч906бр уплотнение запорного органа обеспечивается латунными и уплотнительными кольцами в корпусе и на дисках.
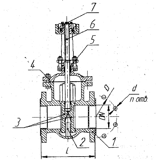
| Ду, мм | L | H | H1 | D0 | i | l1 | масса, кг |
|---|---|---|---|---|---|---|---|
| 100
Ду, мм
|
230
L
|
681
H
|
-
H1
|
200
D0
|
395
i
|
150
l1
|
75
масса, кг
|
| 150
Ду, мм
|
280
L
|
801
H
|
-
H1
|
200
D0
|
395
i
|
150
l1
|
112
масса, кг
|
| 200
Ду, мм
|
330
L
|
1054
H
|
780
H1
|
240
D0
|
490
i
|
402
l1
|
18,
масса, кг
|
| 250
Ду, мм
|
450
L
|
1189
H
|
921
H1
|
240
D0
|
490
i
|
402
l1
|
242
масса, кг
|
| 300
Ду, мм
|
500
L
|
1324
H
|
1070
H1
|
240
D0
|
495
i
|
402
l1
|
310
масса, кг
|
| 400
Ду, мм
|
600
L
|
1690
H
|
1340
H1
|
240
D0
|
495
i
|
402
l1
|
500
масса, кг
|
Габаритные и присоединительные размеры задвижки 30ч906бр
Устройство и принцип работы задвижек 30ч906бр
Крышка крепится к корпусу с помощью болтов и гаек, зажимающих паронитовую прокладку, расположенную между ними. Для предотвращения прохода рабочей среды между крышкой и шпинделем помещена сальниковая набивка, поджимаемая сальником с помощью болтов и гаек. Затвор состоит из двух дисков с завальцованными латунными уплотнительными кольцами и стальной распорной осью ,с компенсирующими прокладками между ними, которые обеспечивают регулировку прилегания уплотнительных поверхностей и возможность восстановления необходимой посадки при последующем ремонте. Закрывание задвижки 30ч906бр происходит при помощи электропривода. Шпиндель через втулку получает поступательное движение и перемещает диски вниз на закрытие.
Меры безопасности при работе задвжек 30ч906бр
К обслуживанию задвижек 30ч906бр допускается персонал, изучивший правила эксплуатации и техники безопасности. Запрещается производить работы по устранению дефектов при наличии давления рабочей среды в трубопроводе. Подтяжка сальника и болтов крепления крышки может производиться без снятия давления в трубопроводе. Использование дополнительных рычагов при ручном управлении не допускается. Не допускается применять ключи, большие по размерам, чем это требуется для крепежных деталей.
Подготовка к работе, порядок работы и техническое обслуживание задвижки 30ч906бр
Задвижка 30ч906бр должна устанавливаться в месте, доступном для осмотра и обслуживания при эксплуатации. Задвижка устанавливается в любом положении, кроме рукояткой вниз.
Перед монтажом задвижки следует проверить:
- Состояние внутренней полости задвижки ,доступной для осмотра;
- Плавность перемещения дисков при вращении рукоятки;
- Состояние крепежных соединений.
При установке задвижки необходимо, чтобы фланцы на трубопроводе были установлены параллельно ,без перекосов. Запрещается устранять перекосы фланцев трубопроводов за счет натяга фланцев крепежными болтами.
Перед пуском системы с вмонтированными задвижками непосредственно после монтажа, все задвижки должны быть открыты и должна быть произведена промывка трубопроводов.
Техническое обслуживание и ремонт должны осуществляться по регламенту обслуживания системы или при обнаружении неисправности.
Задвижки 30ч906бр , подлежащие установке или испытаниям, должны быть предварительно выдержаны в условиях при температуре внешней среды плюс 25+100 оС в течении 24 часов.
Перечень возможных неисправностей и способы их устранения
| Неисправность | Признаки неисправности | Причины неисправности | Способы устранения неисправности |
|---|---|---|---|
| Нарушение герметичности затвора.
Неисправность
|
Пропуск среды при закрытом затворе
Признаки неисправности
|
- Износ или повреждение уплотнительных поверхностей - Попадание постороннего предмета между уплотнительными поверхностями Причины неисправности
|
- Разобрать задвижку 30ч906бр, проложить дополнительную прокладку под ось распора или притереть уплотнительные поверхности - Произвести несколько срабатываний задвижки (открыть-закрыть) или разобрать задвижку и извлечь посторонний предмет Способы устранения неисправности
|
| Нарушение герметичности соединения крышки с корпусом
Неисправность
|
Пропуск среды через соединение крышки и корпуса
Признаки неисправности
|
Износ или повреждение прокладки недостаточная затяжка болтов крепления крышки
Причины неисправности
|
Подтянуть равномерно болты или, разобрать задвижку и сменить прокладку
Способы устранения неисправности
|
| Нарушение герметичности сальника.
Неисправность
|
Пропуск среды через сальник
Признаки неисправности
|
Ослабление затяжки болтов крепления сальника или износ сальниковой набивки
Причины неисправности
|
Заменить сальниковую набивку или подтянуть равномерно болты
Способы устранения неисправности
|
