Задвижка нержавеющая 30нж15нж (PN 40, DN 50-400)
Технические характеристики:
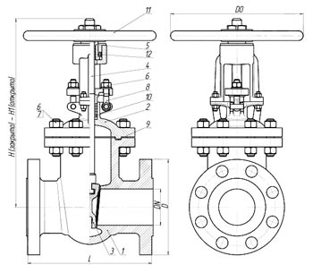
Задвижка 30нж15нж является запорным устройством для трубопроводов с разнообразной рабочей средой, такими как нефтепродукты, жидкие и газообразные вещества.
Таблица размеров и параметров
| Наименование | DN (мм.) | L | D | H | D0 | Масса, кг |
|---|---|---|---|---|---|---|
| 30нж15нж DN 50
Наименование
|
50
DN (мм.)
|
250
L
|
160
D
|
355
H
|
160
D0
|
23
Масса, кг
|
| 30нж15нж DN 80
Наименование
|
80
DN (мм.)
|
310
L
|
195
D
|
430
H
|
160
D0
|
42
Масса, кг
|
| 30нж15нж DN 100
Наименование
|
100
DN (мм.)
|
350
L
|
230
D
|
460
H
|
210
D0
|
61
Масса, кг
|
| 30нж15нж DN 150
Наименование
|
150
DN (мм.)
|
400
L
|
300
D
|
640
H
|
320
D0
|
120
Масса, кг
|
| 30нж15нж DN 200
Наименование
|
200
DN (мм.)
|
420
L
|
375
D
|
825
H
|
320
D0
|
194
Масса, кг
|
| 30нж15нж DN 250
Наименование
|
250
DN (мм.)
|
450
L
|
445
D
|
980
H
|
400
D0
|
270
Масса, кг
|
| 30нж15нж DN 300
Наименование
|
300
DN (мм.)
|
500
L
|
510
D
|
1360
H
|
480
D0
|
383
Масса, кг
|
| 30нж15нж DN 400
Наименование
|
400
DN (мм.)
|
600
L
|
655
D
|
-
H
|
560
D0
|
750
Масса, кг
|
Материалы исполнения задвижки 30нж15нж
- Корпус: 12Х18Н9ТЛ
- Крышка: 12Х18Н9ТЛ
- Клин (диски): 12Х18Н9ТЛ
- Шпиндель: 12Х18Н9Т
- Гайка шпинделя: латунь ЛС59-1
- Гайка: 12Х18Н9Т
- Шпилька, болт: 45Х14Н14В2М
- Болт откидной или анкерный: 45Х14Н14В2М
- Уплотнение между корпусом и крышкой (прокладка, кольцо): ТРГ
- Набивка сальника: ТРГ
- Маховик: сталь25Л
- Подшипник: шариковый упорный
- Наплавка на кольце в корпусе: 04Х19Н9С2
Задвижка стальная 30нж15нж
Задвижка 30нж15нж является запорным устройством для трубопроводов с разнообразной рабочей средой, такими как нефтепродукты, жидкие и газообразные вещества. Рабочая температура переносимых веществ может достигать плюс 565 градусов Цельсия. Корпус и составные части задвижки производятся из марки стали высшего качества для обеспечения надежности конструкций. На задвижке размещен механизм с ручным управлением в виде маховика.
Так же изготавливаются образцы 30нж15нж с электроприводом — (задвижка 30нж915нж с электроприводом), для облегчения эксплуатации устройства.
При монтаже устройства необходимо не допускать нагрузок на трубопровод. По мере востребованности могут быть использованы опоры или компенсаторы.
Задвижки 30нж15нж изготавливаются диаметрами условными DN50, DN80, DN100, DN150, DN200, DN250, DN300, DN400.
